[{"id":387209658597,"handle":"all","title":"All","updated_at":"2026-03-06T12:23:44+00:00","body_html":null,"published_at":"2021-12-03T11:16:20+00:00","sort_order":"alpha-asc","template_suffix":null,"disjunctive":false,"rules":[{"column":"variant_inventory","relation":"greater_than","condition":"-10000"}],"published_scope":"web"},{"id":236915261598,"handle":"all-products-minus-clearance","title":"ALL PRODUCTS MINUS CLEARANCE","updated_at":"2026-03-06T12:23:44+00:00","body_html":"","published_at":"2021-01-26T17:11:14+00:00","sort_order":"best-selling","template_suffix":"","disjunctive":false,"rules":[{"column":"type","relation":"not_equals","condition":"Clearance"},{"column":"type","relation":"not_equals","condition":"Gift Card"}],"published_scope":"global"},{"id":224335757470,"handle":"best-selling-collection","title":"Best selling products","updated_at":"2026-03-06T12:23:44+00:00","body_html":null,"published_at":"2020-09-30T12:55:42+01:00","sort_order":"best-selling","template_suffix":null,"disjunctive":false,"rules":[{"column":"variant_price","relation":"greater_than","condition":"0"}],"published_scope":"web"},{"id":263618625694,"handle":"best-selling-products","title":"Best Selling Products","updated_at":"2026-03-06T12:23:44+00:00","body_html":null,"published_at":"2021-04-03T12:03:11+01:00","sort_order":"best-selling","template_suffix":null,"disjunctive":true,"rules":[{"column":"title","relation":"contains","condition":"Best Selling"},{"column":"title","relation":"not_contains","condition":"Best Selling"}],"published_scope":"web"},{"id":224335724702,"handle":"new-collection","title":"New products","updated_at":"2026-03-06T12:23:44+00:00","body_html":"","published_at":"2020-09-30T12:55:42+01:00","sort_order":"created-desc","template_suffix":"minimal","disjunctive":false,"rules":[{"column":"variant_price","relation":"greater_than","condition":"0"},{"column":"type","relation":"not_equals","condition":"Clearance"}],"published_scope":"web"},{"id":263618658462,"handle":"newest-products","title":"Newest Products","updated_at":"2026-03-06T12:23:44+00:00","body_html":null,"published_at":"2021-04-03T12:03:13+01:00","sort_order":"created-desc","template_suffix":null,"disjunctive":true,"rules":[{"column":"title","relation":"contains","condition":"Newest"},{"column":"title","relation":"not_contains","condition":"Newest"}],"published_scope":"web"},{"id":200879440030,"handle":"rope-rigging-mooring-and-anchoring","title":"Rope, Rigging \u0026 Accessories","updated_at":"2026-03-05T12:21:14+00:00","body_html":"","published_at":"2020-06-12T12:02:42+01:00","sort_order":"best-selling","template_suffix":"list","disjunctive":false,"rules":[{"column":"type","relation":"not_equals","condition":"Books, Charts and Navigation"},{"column":"type","relation":"not_equals","condition":"Chandlery and Hardware"},{"column":"type","relation":"not_equals","condition":"Clothing"},{"column":"type","relation":"not_equals","condition":"Gift Card"},{"column":"type","relation":"not_equals","condition":"Maintenance and Tools"},{"column":"type","relation":"not_equals","condition":"Mechanical and Electrical"},{"column":"type","relation":"not_equals","condition":"Personal Equipment, Bags and Gifts"},{"column":"type","relation":"not_equals","condition":"Review"},{"column":"type","relation":"equals","condition":"Rope and Rigging"},{"column":"type","relation":"not_equals","condition":"Safety, Flags and Electronics"}],"published_scope":"global"},{"id":671621022074,"handle":"store-clearance-sale","title":"Store Clearance Sale","updated_at":"2026-03-06T12:23:44+00:00","body_html":"\u003cp data-start=\"127\" data-end=\"189\"\u003e\u003cstrong data-start=\"127\" data-end=\"186\"\u003eArthur Beale Store Clearance Sale – Odd Bits \u0026amp; Nautical Ends!\u003c\/strong\u003e ⚓️\u003c\/p\u003e\n\u003cp data-start=\"191\" data-end=\"577\"\u003eWe're making space at Arthur Beale, which means it's your chance to snag a true sailor's treasure! Dive into our clearance sale featuring a trove of nautical oddments, rare spares, and well-weathered gear. From rope offcuts and hardware curiosities to discontinued sailing kit and unique maritime finds, there’s no telling what useful (or beautifully obscure) items you might uncover.\u003c\/p\u003e\n\u003cp data-start=\"579\" data-end=\"707\"\u003ePerfect for tinkerers, traditional boat owners, set designers, or anyone who loves a rummage through authentic nautical history.\u003c\/p\u003e\n\u003cp data-start=\"709\" data-end=\"760\"\u003eOnce they’re gone, they’re gone – drop anchor soon!\u003c\/p\u003e","published_at":"2025-07-08T15:24:34+01:00","sort_order":"best-selling","template_suffix":"","disjunctive":false,"rules":[{"column":"tag","relation":"equals","condition":"sale store"}],"published_scope":"global"},{"id":228238065822,"handle":"swage-terminals","title":"Swage Terminals","updated_at":"2025-08-13T10:18:22+01:00","body_html":"","published_at":"2020-10-29T16:53:09+00:00","sort_order":"best-selling","template_suffix":"","disjunctive":false,"rules":[{"column":"tag","relation":"equals","condition":"Wire Rope Terminations"},{"column":"vendor","relation":"equals","condition":"Blue Wave"}],"published_scope":"global"},{"id":210493603998,"handle":"wire-rope-terminations","title":"Wire Rope Terminations","updated_at":"2026-02-02T12:19:57+00:00","body_html":"","published_at":"2020-07-27T10:17:15+01:00","sort_order":"best-selling","template_suffix":null,"disjunctive":true,"rules":[{"column":"tag","relation":"equals","condition":"Wire Rope Terminations"}],"published_scope":"global"}]
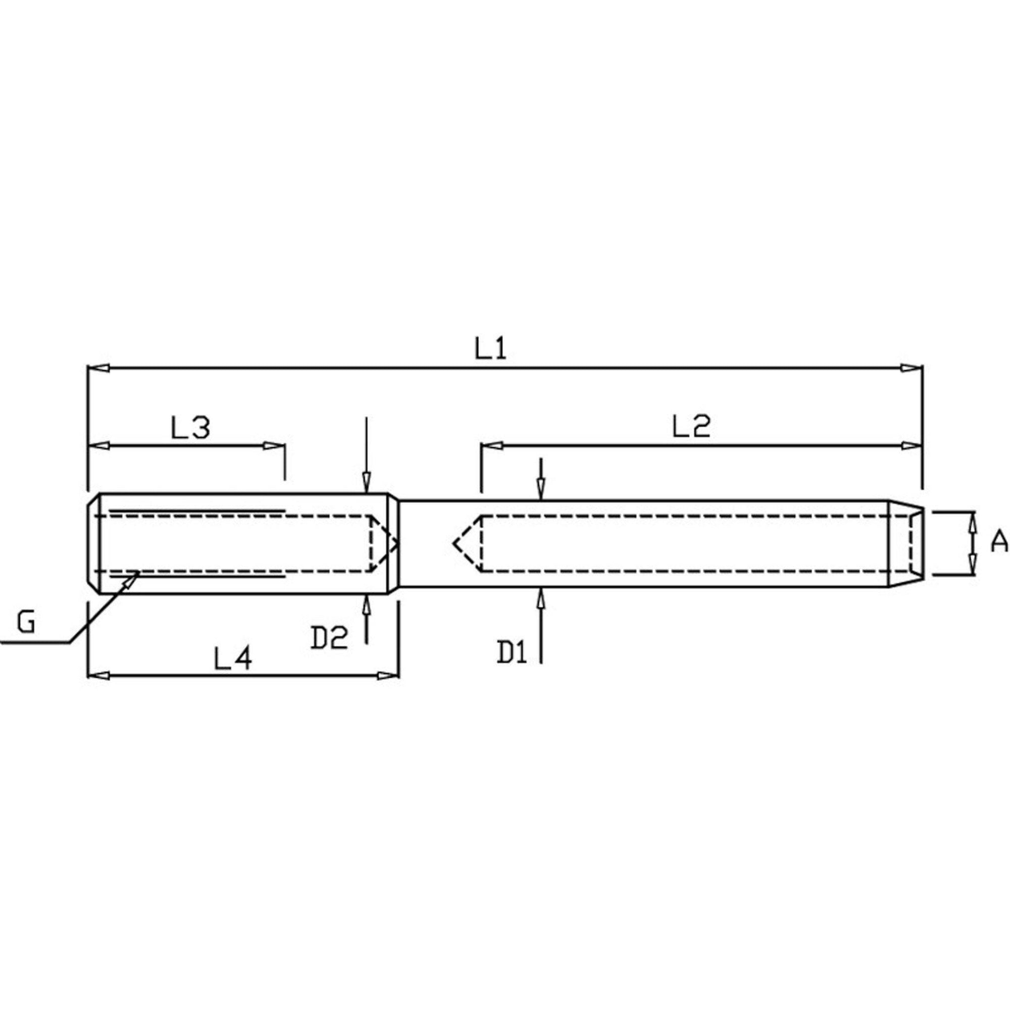
Often found to be a good alternative to a standard rigging screw are the inside thread terminals. The terminals are available with right handed threads and left handed on request!For ease of use when pressing or swingeing onto the wire, the terminals are marked with wire size and swage depth.The small inside thread terminals are for lighter architectural fixing of wires.
The terminals are available with left-handed and right handed threads, with dimensions reduced to a minimum. Other sizes available to order.
High Polished Stainless Steel - AISI 316
G
Wire mm
L1 mm
L2 mm
L3 mm
L4 mm
D1 mm
D2 mm
Break Load kg
M6
4
84
45
20.
30
7.50
8.00
1250
Blue Wave 4 mm M6 R/H Inside Thread TerminalSale price£9.00Regular price£10.03
We are one of the United Kingdoms oldest chandlers, tracing our history back 500 years. We have supplied all sorts of exciting expeditions in our long history, including early Everest and Arctic Expeditions for Ernest Shackleton, Gino Watkins and many more.
We pride ourselves on our passion and dedication for high quality kit for every adventure.